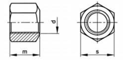
Hexagon nut H=1,5D D6330B Stainless steel