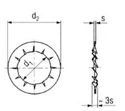
Serrated lock washer internal teeth, D 6798 J spring steel 350-425 HV10