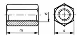
Hex connetion nuts, D 6334 hot dip galvanized. ISO fit