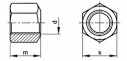
Hexagon nuts, D 6330 B