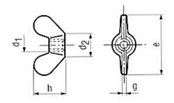
Vleugelmoeren BSW